Manuel de réparation de la Toyota Prius 2018: Actionneur "A" d'obturateur d'air de grille actif bloqué en position fermée (P059F73,P05A072)

Manuel de réparation de la Toyota Prius 2018 / Moteur, Systeme hybride / Commande Du Moteur 2zr-fxe / Systeme Sfi / Actionneur "A" d'obturateur d'air de grille actif bloqué en position fermée (P059F73,P05A072)

DESCRIPTION

Le système de calandre se compose du sous-ensemble d'obturateur de radiateur et de l'ensemble d'actionneur de grille oscillant.

Lorsque certaines conditions du véhicule sont remplies, le système d'obturateur de calandre actionne l'ensemble d'actionneur de grille oscillant pour ouvrir et fermer le sous-ensemble d'obturateur de radiateur et commander le volume d'air qui passe par l'ensemble de radiateur vers le compartiment moteur. Cela se traduit par l'augmentation de l'efficacité thermique et de l'économie de carburant en raison de la réduction de la traînée aérodynamique. Cette commande est effectuée sur la base des signaux reçus via le système de communication CAN: signal de vitesse du véhicule, signal de température du liquide de refroidissement du moteur, signal de température du liquide de refroidissement de l'inverseur hybride, signal de température ambiante, pression de réfrigérant et signal de demande de rapport de frein (B).

Si l'ECU d'obturateur de calandre (ensemble d'actionneur de grille de calandre) détecte un dysfonctionnement dans l'ECU elle-même ou l'une des pièces constitutives mécaniques du système d'obturateur de calandre, elle émet un signal de dysfonctionnement à l'ECM et l'ECM enregistre un DTC.

Liste des commandes

Commande

Description

Commande de fonctionnement du système de fermeture

L'obturateur de grille se ferme une fois que certaines conditions relatives à la vitesse du véhicule, à la température du liquide de refroidissement du moteur, à la température du liquide de refroidissement de l'inverseur, à la température ambiante et à la pression du réfrigérant sont remplies.

Commande de fonctionnement du système d'ouverture

L'obturateur de grille s'ouvre une fois que certaines conditions relatives à la vitesse du véhicule, à la température du liquide de refroidissement du moteur, à la température du liquide de refroidissement de l'inverseur, à la température ambiante et à la pression du réfrigérant sont remplies.

Commande de fonctionnement du système d'ouverture lié au contacteur d'alimentation en position OFF

Ouvre l'obturateur de grille lorsque le contacteur d'alimentation est mis en position OFF afin d'éviter que l'obturateur de grille ne de coince lorsque le véhicule est arrêté.

Fonctionnement d'ouverture/de fermeture du contacteur d'alimentation en position ON (IG)

Si les conditions de détection d'un DTC sont réunies au cours d'un cycle, la prochaine fois que le contacteur d'alimentation est mis en position ON (IG), un fonctionnement d'ouverture et de fermeture d'obturateur de calandre sera effectué dans le but de déterminer si le dysfonctionnement persiste.

Commande d'ouverture liée à la position du frein (B)

Ouvre l'obturateur de grille pour assister le freinage lorsque le frein (B) est sélectionné. Cette commande est neutralisée quand l'obturateur de calandre est en mode de commande d'hiver.

Mode de commande d'hiver

Arrête l'obturateur de grille dans une position autre que la position complètement fermée et suspend l'opération de l'obturateur de grille pour éviter qu'il ne se retrouve coincé en position fermée lorsque la température ambiante est de 5°C (41°F) maximum. Le mode de commande hivernale est annulé lorsque la température ambiante atteint 10°C (50°F) minimum.

Opération de nouvel essai

En cas de détection d'un dysfonctionnement mécanique pendant le fonctionnement de l'obturateur de calandre, l'opération sera re-tentée.

N° de DTC

Objet de la détection

Condition de détection du DTC

Organe incriminé

MIL

Mémoire

Remarque

P059F73

Actionneur "A" d'obturateur d'air de grille actif bloqué en position fermée

Toutes les conditions suivantes sont réunies et l'ECM reçoit un signal de dysfonctionnement 17 fois* (logique de détection à 2 cycle(s)):

  • Le verrouillage d'obturateur de calandre est détecté.
  • L'obturateur de calandre ne se trouve pas dans la zone d'estimation de fonctionnement de fermeture normal.
  • Le fonctionnement de l'obturateur de calandre a été re-tenté une fois.
  • L'estimation de dysfonctionnement de fonctionnement de fermeture de l'obturateur de calandre s'est produite une fois minimum.
  • Sous-ensemble d'obturateur de radiateur
  • Ensemble d'actionneur de grille oscillant
  • Excepté les modèles destinés au Mexique: S'active
  • Modèles destinés au Mexique: Ne s'active pas

DTC enregistré

  • Code SAE: P059F
  • DTC pour modèles destinés au Mexique: S'applique

P05A072

Actionneur "A" d'obturateur d'air de grille actif bloqué en position ouverte

Toutes les conditions suivantes sont réunies et l'ECM reçoit un signal de dysfonctionnement 17 fois* (logique de détection à 2 cycle(s)):

  • Le verrouillage d'obturateur de calandre est détecté.
  • L'obturateur de calandre ne se trouve pas dans la zone d'estimation de fonctionnement d'ouverture normal.
  • Le fonctionnement de l'obturateur de calandre a été re-tenté une fois.
  • L'estimation de dysfonctionnement de fonctionnement d'ouverture de l'obturateur de calandre s'est produite une fois minimum.
  • Sous-ensemble d'obturateur de radiateur
  • Ensemble d'actionneur de grille oscillant
  • Excepté les modèles destinés au Mexique: S'active
  • Modèles destinés au Mexique: Ne s'active pas

DTC enregistré

  • Code SAE: P05A0
  • DTC pour modèles destinés au Mexique: S'applique

CONSEIL:

*: Tous les 65 ms où l'ECM reçoit un signal de dysfonctionnement du système d'obturateur de calandre (ensemble d'actionneur de grille oscillant), l'ECM considère qu'il a reçu le signal 1 fois. Si l'ECM détecte que le signal de dysfonctionnement a été reçu 17 fois de suite (le signal est transmis en continu pendant environ 1 seconde), il mémorise un DTC.

DESCRIPTION DU CONTROLE

Si l'ECU d'obturateur de calandre (ensemble d'actionneur de grille oscillant) détecte que l'obturateur de calandre s'est arrêté pendant l'opération d'ouverture ou de fermeture, en raison de corps étrangers ou d'un dysfonctionnement, il transmettra un signal de dysfonctionnement à l'ECM, et l'ECM enregistre un DTC.

Condition de détection

N° de DTC

Opération de fermeture

P059F73 (Actionneur "A" d'obturateur d'air de grille actif bloqué en position fermée)

Opération d'ouverture

P05A072 (Actionneur "A" d'obturateur d'air de grille actif bloqué en position ouverte)

PROCEDURE DE CONTROLE

DTC correspondants

P059F: Obturateur d'air de grille actif bloqué en position OFF

P05A0: Obturateur d'air de grille actif bloqué en position ON

Capteurs/Pièces constitutives (principaux) requis

Ensemble d'actionneur de grille oscillant

Sous-ensemble d'obturateur de radiateur

Capteurs/Pièces constitutives (correspondants) requis

-

Fréquence de fonctionnement

En permanence

Durée

17 fois

Fonctionnement MIL

2 cycle(s) de conduite

Séquence de fonctionnement

Néant

CONDITIONS TYPIQUES D'ACTIVATION

P059F

Le contrôle se fait en cas d'absence d'enregistrement des DTC suivants

Néant

Tension de la batterie auxiliaire

10,5 à 16 V

Commande de fermeture d'obturateur d'air de grille actif

ON

Dysfonctionnement de la vérification de plage du capteur de vitesse du moteur d'obturateur d'air de grille actif

N'est pas survenu

Etat de pause de la commande d'obturateur (*1)

N'est pas rempli

Dysfonctionnement du circuit de la commande d'obturateur d'air de grille actif

N'est pas survenu

Perte de la communication avec le module de commande hybride

N'est pas survenu

Dysfonctionnement du module de commande d'obturateur d'air de grille actif

N'est pas survenu

Etat de verrouillage du moteur (*2)

Remplies

Premier fonctionnement d'obturateur d'air de grille actif

Fermé(e)

L'une des conditions suivantes est remplie

1 ou 2

1. Nombre d'impulsions de signal du capteur de vitesse du moteur d'obturateur d'air de grille actif 1

1 fois minimum

2. Temps écoulé après que la commande d'ouverture d'obturateur d'air de grille actif est actionnée

0,61 seconde minimum

P05A0

Le contrôle se fait en cas d'absence d'enregistrement des DTC suivants

Néant

Tension de la batterie auxiliaire

10,5 à 16 V

Commande d'ouverture d'obturateur d'air de grille actif

ON

Dysfonctionnement de la vérification de plage du capteur de vitesse du moteur d'obturateur d'air de grille actif

N'est pas survenu

Etat de pause de la commande d'obturateur (*1)

N'est pas rempli

Dysfonctionnement du circuit de la commande d'obturateur d'air de grille actif

N'est pas survenu

Perte de la communication avec le module de commande hybride

N'est pas survenu

Dysfonctionnement du module de commande d'obturateur d'air de grille actif

N'est pas survenu

Etat de verrouillage du moteur (*2)

Remplies

L'une des conditions suivantes est remplie

1 ou 2

1. Nombre d'impulsions de signal du capteur de vitesse du moteur d'obturateur d'air de grille actif 1

1 fois minimum

2. Temps écoulé après que la commande de fermeture d'obturateur d'air de grille actif est actionnée

0,61 seconde minimum

*1: Estimation d'état de pause de la commande d'obturateur

-

L'une des conditions suivantes est remplie

1 ou 2

1. Temps écoulé après que la commande de fermeture d'obturateur d'air de grille actif est actionnée

11 secondes minimum

2. Temps écoulé après que la commande d'ouverture d'obturateur d'air de grille actif est actionnée

11 secondes minimum

*2: Estimation d'état de verrouillage du moteur

-

L'une des conditions suivantes est remplie

1 ou 2

1. Toutes les conditions suivantes sont remplies

-

Nombre d'impulsions de signal du capteur de vitesse du moteur d'obturateur d'air de grille actif 1

Moins de 24 fois

Période d'impulsions du signal de capteur de vitesse du moteur d'obturateur d'air de grille actif 1

0,61 seconde minimum

Période d'impulsions du signal de capteur de vitesse du moteur d'obturateur d'air de grille actif 2

0,61 seconde minimum

2. Toutes les conditions suivantes sont remplies

-

Nombre d'impulsions de signal du capteur de vitesse du moteur d'obturateur d'air de grille actif 1

24 fois minimum

Période d'impulsions du signal de capteur de vitesse du moteur d'obturateur d'air de grille actif 1

0,25 seconde minimum

Période d'impulsions du signal de capteur de vitesse du moteur d'obturateur d'air de grille actif 2

0,25 seconde minimum

SEUILS DE DYSFONCTIONNEMENT TYPIQUES

P059F

Toutes les conditions suivantes sont remplies

-

Premier fonctionnement d'obturateur d'air de grille actif

Fermé(e)

Nombre d'impulsions de signal du capteur de vitesse du moteur d'obturateur d'air de grille actif 1

1 fois minimum

P05A0

Toutes les conditions suivantes sont remplies

-

Premier fonctionnement d'obturateur d'air de grille actif

Ouvert(e)

Nombre d'impulsions de signal du capteur de vitesse du moteur d'obturateur d'air de grille actif 1

1 fois minimum

PERIODE TEST DE CONFIRMATION

  1. Brancher le Techstream sur le DLC3.
  2. Mettre le contacteur d'alimentation en position ON (IG).
  3. Allumer le Techstream.
  4. Effacer les DTC (même si aucun DTC n'est enregistré, effectuer la suppression des DTC).
  5. Mettre le contacteur d'alimentation en position OFF et attendre 30 secondes minimum.
  6. Mettre le contacteur d'alimentation en position ON (IG).
  7. Allumer le Techstream.
  8. Sélectionner les menus suivants: Body Electrical / Grill Shutter / Active Test / Shutter Closing Operation Lock Detection / Data List / Shutter Operation Lock Detection Result for Active Test.
  9. En fonction de l'affichage sur le Techstream, effectuer l'Active Test et relever la valeur de l'élément de la Data List Shutter Operation Lock Detection Result for Active Test.

    OK:

    Le message "Normal" s'affiche.

  10. Sélectionner les menus suivants: Body Electrical / Grill Shutter / Active Test / Shutter Opening Operation Lock Detection / Data List / Shutter Operation Lock Detection Result for Active Test.
  11. En fonction de l'affichage sur le Techstream, effectuer l'Active Test et relever la valeur de l'élément de la Data List Shutter Operation Lock Detection Result for Active Test.

    OK:

    Le message "Normal" s'affiche.

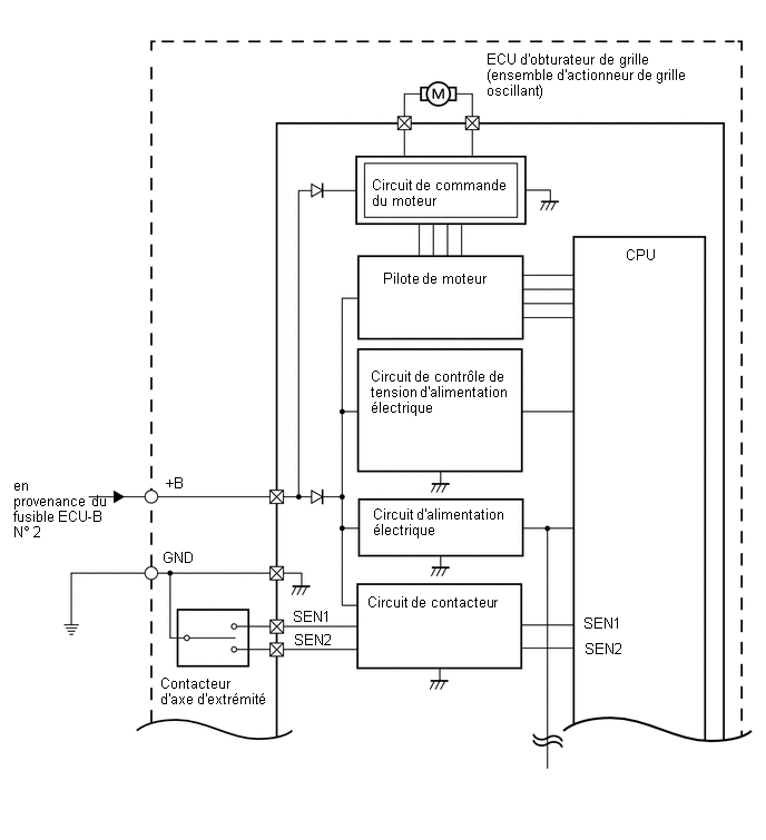
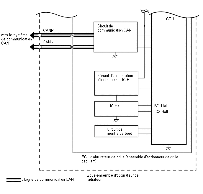
SCHEMA DE CABLAGE

MESURE DE PRECAUTION / REMARQUE / CONSEIL

REMARQUE:

Afin de garantir une sécurité totale, avant d'effectuer la recherche des pannes ou de déposer l'ensemble d'actionneur de grille oscillante ou le sous-ensemble d'obturateur de radiateur, mettre la commande d'obturateur de grille en mode Entretien.

CONSEIL:

Relever les données d'arrêt sur image à l'aide du Techstream. L'ECM enregistre les informations relatives aux conditions de conduite et au véhicule sous forme de données d'arrêt sur image au moment où un DTC est enregistré. Lors de la recherche de pannes, les données d'arrêt sur image peuvent permettre de déterminer si le véhicule roulait ou non, si le moteur était ou non monté en température, si le rapport air/carburant était pauvre ou riche et elles peuvent permettre de déterminer diverses autres données au moment de l'apparition du dysfonctionnement.

PROCEDURE

1.

EFFECTUER L'OPERATION UTILITY A L'AIDE DU TECHSTREAM (GRILL SHUTTER CONTROL MODE SWITCHING)

(a) Brancher le Techstream sur le DLC3.

(b) Mettre le contacteur d'alimentation en position ON (IG).

(c) Allumer le Techstream.

(d) Sélectionner les menus suivants: Body Electrical / Grill Shutter / Utility / Grill Shutter Control Mode Switching.

Body Electrical > Grill Shutter > Utility

Affichage du tester

Grill Shutter Control Mode Switching

(e) En fonction de l'affichage du Techstream, mettre la commande d'obturateur de grille du mode Normal au mode Entretien.

SUIVANT

2.

VERIFIER L'OBTURATEUR DE CALANDRE (CORPS ETRANGERS ET GLACE)

(a) Vérifier si la zone autour des obturateurs et des tringles de l'obturateur de calandre ne comportent pas de corps étrangers ou de glace.

OK:

Corps étrangers ou glace.

INCORRECT

PASSER AU POINT 8

OK

3.

EFFECTUER L'ACTIVE TEST A L'AIDE DU TECHSTREAM (GRILLE SHUTTER OPERATION)

(a) Brancher le Techstream sur le DLC3.

(b) Mettre le contacteur d'alimentation en position ON (IG).

(c) Allumer le Techstream.

(d) Sélectionner les menus suivants: Body Electrical / Grill Shutter / Active Test / Shutter Closing Operation Lock Detection / Data List / Shutter Operation Lock Detection Result for Active Test.

Body Electrical > Grill Shutter > Active Test

Ecran de l'Active Test

Shutter Closing Operation Lock Detection

Affichage de la Data List

Shutter Operation Lock Detection Result for Active Test

(e) En fonction de l'affichage sur le Techstream, effectuer l'Active Test et relever la valeur de l'élément de la Data List Shutter Operation Lock Detection Result for Active Test.

OK:

Le message "Normal" s'affiche.

(f) Sélectionner les menus suivants: Body Electrical / Grill Shutter / Active Test / Shutter Opening Operation Lock Detection / Data List / Shutter Operation Lock Detection Result for Active Test.

Body Electrical > Grill Shutter > Active Test

Ecran de l'Active Test

Shutter Opening Operation Lock Detection

Affichage de la Data List

Shutter Operation Lock Detection Result for Active Test

(g) En fonction de l'affichage sur le Techstream, effectuer l'Active Test et relever la valeur de l'élément de la Data List Shutter Operation Lock Detection Result for Active Test.

OK:

Le message "Normal" s'affiche.

CONSEIL:

Lorsque la valeur de l'élément de la Data List Shutter Operation Lock Detection Result for Active Test est "Normal", cela signifie que le système d'obturateur de calandre est revenu à l'état normal.

INCORRECT

PASSER AU POINT 6

OK

4.

SUPPRIMER LES DTC

(a) Brancher le Techstream sur le DLC3.

(b) Mettre le contacteur d'alimentation en position ON (IG).

(c) Allumer le Techstream.

(d) Sélectionner les menus suivants: Powertrain / Engine / Trouble Codes.

(e) Supprimer les DTC.

Powertrain > Engine > Clear DTCs

(f) Mettre le contacteur d'alimentation en position OFF et attendre 30 secondes minimum.

SUIVANT

5.

EFFECTUER L'OPERATION UTILITY A L'AIDE DU TECHSTREAM (GRILL SHUTTER CONTROL MODE SWITCHING)

(a) Brancher le Techstream sur le DLC3.

(b) Mettre le contacteur d'alimentation en position ON (IG).

(c) Allumer le Techstream.

(d) Sélectionner les menus suivants: Body Electrical / Grill Shutter / Utility / Grill Shutter Control Mode Switching.

Body Electrical > Grill Shutter > Utility

Affichage du tester

Grill Shutter Control Mode Switching

(e) En fonction de l'affichage du Techstream, faire passer la commande d'obturateur de grille du mode Entretien au mode Normal.

(f) Vérifier les DTC et s'assurer que le DTC B1333 n'est pas émis.

Body Electrical > Grill Shutter > Trouble Codes
SUIVANT

FIN

6.

EFFECTUER L'ACTIVE TEST A L'AIDE DU TECHSTREAM (SWING GRILLE ACTUATOR ASSEMBLY OPERATION)

(a) Déposer le sous-ensemble d'obturateur de radiateur.

Cliquer ici

(b) Déposer l'ensemble d'actionneur de grille oscillant.

Cliquer ici

(c) Rebrancher le connecteur d'ensemble d'actionneur de grille oscillant.

(d) Brancher le Techstream sur le DLC3.

(e) Mettre le contacteur d'alimentation en position ON (IG).

(f) Allumer le Techstream.

(g) Sélectionner les menus suivants: Body Electrical / Grill Shutter / Active Test / Shutter Closing Operation Lock Detection.

Body Electrical > Grill Shutter > Active Test

Affichage du tester

Shutter Closing Operation Lock Detection

(h) En fonction de l'affichage du Techstream, effectuer l'Active Test et vérifier le fonctionnement de l'ensemble d'actionneur de grille oscillant.

OK:

Le fonctionnement est normal.

(i) Sélectionner les menus suivants: Body Electrical / Grill Shutter / Active Test / Shutter Opening Operation Lock Detection.

Body Electrical > Grill Shutter > Active Test

Affichage du tester

Shutter Opening Operation Lock Detection

(j) En fonction de l'affichage du Techstream, effectuer l'Active Test et vérifier le fonctionnement de l'ensemble d'actionneur de grille oscillant.

OK:

Le fonctionnement est normal.

CONSEIL:

Effectuer "Grill Shutter Control Mode Switching and Grill Shutter Initialization" après avoir remplacé l'ensemble d'actionneur de grille oscillant.

Cliquer ici

INCORRECT

REMPLACER L'ENSEMBLE D'ACTIONNEUR DE GRILLE OSCILLANT

OK

7.

VERIFIER LE SOUS-ENSEMBLE D'OBTURATEUR DE RADIATEUR (FONCTIONNEMENT D'OBTURATEUR DE CALANDRE)

(a) Déposer le sous-ensemble d'obturateur de radiateur.

Cliquer ici

(b) Déposer l'ensemble d'actionneur de grille oscillant.

Cliquer ici

(c) Ouvrir et fermer manuellement le sous-ensemble d'obturateur de radiateur et vérifier s'il se déplace librement.

OK:

Le sous-ensemble d'obturateur de radiateur se déplace librement.

CONSEIL:

Effectuer "Grill Shutter Control Mode Switching and Grill Shutter Initialization" après avoir remplacé l'ensemble d'actionneur de grille oscillant et le sous-ensemble d'obturateur de radiateur.

Cliquer ici

OK

REMPLACER L'ENSEMBLE D'ACTIONNEUR DE GRILLE OSCILLANT

INCORRECT

REMPLACER LE SOUS-ENSEMBLE D'OBTURATEUR DE RADIATEUR

8.

RETIRER LES CORPS ETRANGERS OU LA GLACE (NETTOYER L'OBTURATEUR DE CALANDRE)

(a) Eliminer les corps étrangers et/ou la glace de la zone autour des obturateurs et des tringles de l'obturateur de calandre.

SUIVANT

9.

EFFECTUER L'ACTIVE TEST A L'AIDE DU TECHSTREAM (GRILLE SHUTTER OPERATION)

(a) Brancher le Techstream sur le DLC3.

(b) Mettre le contacteur d'alimentation en position ON (IG).

(c) Allumer le Techstream.

(d) Sélectionner les menus suivants: Body Electrical / Grill Shutter / Active Test / Shutter Closing Operation Lock Detection / Data List / Shutter Operation Lock Detection Result for Active Test.

Body Electrical > Grill Shutter > Active Test

Ecran de l'Active Test

Shutter Closing Operation Lock Detection

Affichage de la Data List

Shutter Operation Lock Detection Result for Active Test

(e) En fonction de l'affichage sur le Techstream, effectuer l'Active Test et relever la valeur de l'élément de la Data List Shutter Operation Lock Detection Result for Active Test.

OK:

Le message "Normal" s'affiche.

(f) Sélectionner les menus suivants: Body Electrical / Grill Shutter / Active Test / Shutter Opening Operation Lock Detection / Data List / Shutter Operation Lock Detection Result for Active Test.

Body Electrical > Grill Shutter > Active Test

Ecran de l'Active Test

Shutter Opening Operation Lock Detection

Affichage de la Data List

Shutter Operation Lock Detection Result for Active Test

(g) En fonction de l'affichage sur le Techstream, effectuer l'Active Test et relever la valeur de l'élément de la Data List Shutter Operation Lock Detection Result for Active Test.

OK:

Le message "Normal" s'affiche.

CONSEIL:

Lorsque la valeur de l'élément de la Data List Shutter Operation Lock Detection Result for Active Test est "Normal", cela signifie que le système d'obturateur de calandre est revenu à l'état normal.

INCORRECT

PASSER AU POINT 6

OK

10.

SUPPRIMER LES DTC

(a) Brancher le Techstream sur le DLC3.

(b) Mettre le contacteur d'alimentation en position ON (IG).

(c) Allumer le Techstream.

(d) Sélectionner les menus suivants: Powertrain / Engine / Trouble Codes.

(e) Supprimer les DTC.

Powertrain > Engine > Clear DTCs

(f) Mettre le contacteur d'alimentation en position OFF et attendre 30 secondes minimum.

SUIVANT

11.

EFFECTUER L'OPERATION UTILITY A L'AIDE DU TECHSTREAM (GRILL SHUTTER CONTROL MODE SWITCHING)

(a) Brancher le Techstream sur le DLC3.

(b) Mettre le contacteur d'alimentation en position ON (IG).

(c) Allumer le Techstream.

(d) Sélectionner les menus suivants: Body Electrical / Grill Shutter / Utility / Grill Shutter Control Mode Switching.

Body Electrical > Grill Shutter > Utility

Affichage du tester

Grill Shutter Control Mode Switching

(e) En fonction de l'affichage du Techstream, faire passer la commande d'obturateur de grille du mode Entretien au mode Normal.

(f) Vérifier les DTC et s'assurer que le DTC B1333 n'est pas émis.

Body Electrical > Grill Shutter > Trouble Codes
SUIVANT

FIN

Court-circuit à la masse ou coupure dans le circuit de tension de système (P056014)
DESCRIPTION DU CONTROLE La batterie auxiliaire alimente l'ECM en électricité même lorsque le contacteur d'alimentation est en position OFF. Cette alimentation électrique permet au module ECM ...

Dérapage de l'actionneur "A" d'obturateur d'air de grille actif (P05A074)
DESCRIPTION Se reporter au DTC P059F73. Cliquer ici N° de DTC Objet de la détection Condition de détection du DTC Organe incriminé MIL Mémoire Remarque ...

D'autres materiaux:

Repose
REPOSE PROCEDURE 1. REPOSER LA THERMISTANCE DE REFROIDISSEUR (CAPTEUR DE TEMP. D'HABITACLE) (a) Brancher le connecteur et l'aspirateur. (b) Engager les 2 griffes pour reposer la thermistance de refroidisseur (capteur de température ambiante) comme indiqué sur le schéma. Pos ...

Data List / Active Test
DATA LIST / ACTIVE TEST DATA LIST CONSEIL: La Data List du Techstream permet de relever les valeurs ou l'état des contacteurs, des capteurs, des actionneurs et d'autres éléments sans avoir à déposer de pièces. Cette vérification non intrusive peut être très utile dans la mesure oà ...

Depose
DEPOSE MESURE DE PRECAUTION / REMARQUE / CONSEIL Les procédures nécessaires (réglage, calibrage, initialisation ou enregistrement) qui doivent être effectuées une fois que les pièces ont été déposées et reposées, ou remplacées lors de la dépose/repose de l'ensemble de feu arr ...

Manuels