Manuel de réparation de la Toyota Prius 2018: Défaillance interne d'un élément du ventilateur de refroidissement de batterie hybride/EV 1 (P0A8196)
DESCRIPTION
Se reporter à la description du DTC P0A8111.
Cliquer ici
|
N° de DTC | Objet de la détection |
Condition de détection du DTC |
Organe incriminé | MIL |
Avertissement indiqué |
|---|---|---|---|---|---|
|
P0A8196 | Défaillance interne d'un élément du ventilateur de refroidissement de batterie hybride/EV 1 |
L'ensemble de soufflante de refroidissement de batterie ne fonctionne pas correctement et la vitesse réelle n'est pas comprise dans la plage prescrite de la vitesse cible calculée par l'ECU.* *: Ce DTC n'est pas enregistré lorsque "Hybrid Battery Cooling Fan 1 Frequency" est trop faible ou trop élevé. (logique de détection à 1 cycle(s)) |
| Ne s'active pas |
Témoin principal S'active |
|
N° de DTC | Data List |
|---|---|
|
P0A8196 |
|
Les éléments suivants peuvent se révéler utiles lorsque des réparations sont effectuées:
Data List- Hybrid Battery Temperature 1 to 3
- BATT Voltage
CONSEIL:
"Hybrid Battery Cooling Fan 1 Frequency" (fréquence de ventilateur de refroidissement 1) est détectée lorsque l'ensemble de soufflante de refroidissement de batterie est en marche et que sa valeur change proportionnellement à la vitesse de rotation d'ensemble de soufflante de refroidissement de batterie.
PERIODE TEST DE CONFIRMATION
CONSEIL:
Une fois la réparation terminée, effacer les DTC et vérifier si le véhicule est revenu à la normale en exécutant la procédure de vérification "All Readiness".
Cliquer ici
- Brancher le Techstream sur le DLC3.
- Mettre le contacteur d'alimentation en position ON (IG) et allumer le Techstream.
- Effacer les DTC (même si aucun DTC n'est enregistré, effectuer la suppression des DTC).
- Mettre le contacteur d'alimentation en position OFF et attendre 2 minutes minimum.
- Mettre le contacteur d'alimentation en position ON (IG) et allumer le Techstream.
- Sélectionner les menus suivants: Powertrain / Hybrid Control / Active Test / Control the Hybrid Battery Cooling Fan.
- Mettre l'ensemble de soufflante de refroidissement de batterie en
position OFF, puis le faire fonctionner sous les modes de ventilateur 1 Ã
6 et attendre 5 minutes minimum.
CONSEIL:
Le fonctionnement de l'ensemble de soufflante de refroidissement de batterie peut être confirmé en vérifiant si l'air est aspiré dans l'orifice d'admission d'air de la conduite d'admission.
- Sélectionner les menus suivants: Powertrain / Hybrid Control / Utility / All Readiness.
- Vérifier le résultat de l'estimation de DTC.
CONSEIL:
- Si le résultat de l'estimation révèle NORMAL, le système est normal.
- Si le résultat de l'estimation est ABNORMAL, le système présente un dysfonctionnement.
- Si le résultat de l'estimation indique INCOMPLETE ou N/A, effectuer à nouveau la période test.
SCHEMA DE CABLAGE
Se reporter au schéma de câblage pour le DTC P0A8111.
Cliquer ici
MESURE DE PRECAUTION / REMARQUE / CONSEIL
ATTENTION:
- Avant de vérifier le système à haute tension, prendre des mesures de sécurité afin d'éviter les décharges électriques, en portant notamment des gants isolants et en déposant la poignée de prise d'entretien. Après avoir déposé la poignée de prise d'entretien, la mettre dans sa poche pour empêcher que d'autres mécaniciens ne la rebranchent accidentellement alors que le travail est en cours sur le système à haute tension.
- Après avoir déposé la poignée de prise d'entretien, attendre au moins 10
minutes avant de toucher tout connecteur ou borne à haute tension.
Après un délai de 10 minutes, vérifier la tension des bornes au niveau
du point de vérification sur l'ensemble d'inverseur avec convertisseur.
La tension doit être de 0 V avant de commencer le travail.
Cliquer ici
CONSEIL:
10 minutes minimum sont nécessaires pour que le condensateur à haute tension de l'ensemble d'inverseur avec convertisseur se décharge.
REMARQUE:
Après avoir mis le contacteur d'alimentation en position OFF, un délai d'attente avant de débrancher le câble de la borne négative (-) de la batterie peut être requis. Par conséquent, veiller à lire les mesures de précaution concernant le débranchement du câble de la borne négative (-) de la batterie auxiliaire avant de poursuivre le travail.
Cliquer ici
PROCEDURE
| 1. |
VERIFIER LE DTC EMIS (COMMANDE HYBRIDE) |
(a) Brancher le Techstream sur le DLC3.
(b) Mettre le contacteur d'alimentation en position ON (IG).
(c) Sélectionner les menus suivants: Powertrain / Hybrid Control / Trouble Codes.
(d) Vérifier les DTC.
Powertrain > Hybrid Control > Trouble CodesRésultat:
|
Résultat | Passer au point |
|---|---|
|
Le DTC "P0AFC00 ou P0AFC96" n'est pas émis. |
A |
| Le DTC "P0AFC00 ou P0AFC96" est également émis. |
B |
(e) Mettre le contacteur d'alimentation en position OFF.
| B |
|
PASSER AU TABLEAU DES DTC (SYSTEME DE COMMANDE HYBRIDE) |
|
| 2. |
VERIFIER LA CONDUITE ET LA SOUFFLANTE |
ATTENTION:
Veiller à porter des gants isolants.
(a) S'assurer que la poignée de prise d'entretien n'est pas posée.
REMARQUE:
Après avoir retiré la poignée de prise d'entretien, ne pas remettre le contacteur d'alimentation en position ON (READY) sauf si c'est clairement spécifié dans le manuel de réparation, car cela peut entraîner un dysfonctionnement.
(b) Déposer l'ensemble d'assise de siège arrière.
Cliquer ici
(c) S'assurer que le filtre d'admission de batterie HV n° 1, l'ensemble de soufflante de refroidissement de batterie et la conduite d'admission de batterie hybride n° 1 ne sont pas débranchés, endommagés ou obstrués par des corps étrangers.
|
*1 | Filtre d'admission de batterie HV n° 1 |
*2 | Ensemble de soufflante de refroidissement de batterie |
|
*3 | Conduite d'admission de batterie hybride n° 1 |
- | - |
(d) Reposer l'ensemble d'assise de siège arrière.
| INCORRECT |
|
REMEDIER AU PROBLEME |
|
| 3. |
VERIFIER LE FAISCEAU DE CABLES ET LE CONNECTEUR (CAPTEUR DE TENSION DE BATTERIE - ENSEMBLE DE SOUFFLANTE DE REFROIDISSEMENT DE BATTERIE) |
Cliquer ici
| INCORRECT |
|
REPARER OU REMPLACER LE FAISCEAU DE CABLES OU LE CONNECTEUR |
|
| 4. |
VERIFIER LE FAISCEAU DE CABLES ET LE CONNECTEUR (ECU DE COMMANDE DE VEHICULE HYBRIDE - ENSEMBLE DE SOUFFLANTE DE REFROIDISSEMENT DE BATTERIE) |
Cliquer ici
| INCORRECT |
|
REPARER OU REMPLACER LE FAISCEAU DE CABLES OU LE CONNECTEUR |
|
| 5. |
VERIFIER L'ECU DE COMMANDE DE VEHICULE HYBRIDE (VERIFIER L'ABSENCE DE COURT-CIRCUIT A LA MASSE) |
(a) Déposer l'ECU de commande de véhicule hybride.
Cliquer ici
(b) Mesurer la résistance en fonction de la (des) valeur(s) indiquée(s) dans le tableau ci-dessous.
|
*a | Pièce constitutive sans faisceau de câbles branché (ECU de commande de véhicule hybride) |
- | - |
Résistance standard:
|
Branchement du tester | Condition |
Condition spécifiée |
|---|---|---|
|
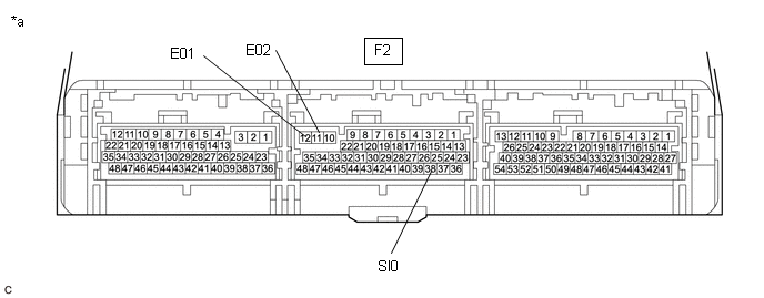
F2-38(SI0) - F2-12(E01) |
Contacteur d'alimentation en position OFF |
10 kΩ minimum |
|
F2-38(SI0) - F2-11(E02) |
Contacteur d'alimentation en position OFF |
10 kΩ minimum |
(c) Reposer l'ECU de commande de véhicule hybride.
| INCORRECT |
|
REMPLACER L'ECU DE COMMANDE DE VEHICULE HYBRIDE |
|
| 6. |
RELEVER LA VALEUR A L'AIDE DU TECHSTREAM (COOLING FAN FREQUENCE) |
Cliquer ici
Résultat:
|
Résultat | Passer au point |
|---|---|
|
Les deux valeurs dans la Data List (Hybrid Battery Cooling Fan 1 Frequency) et la valeur mesurée réelle au connecteur du capteur de tension de batterie sont de 0 Hz. | A |
|
Autres résultats | B |
| B |
|
PASSER AU POINT 8 |
|
| 7. |
VERIFIER LE CAPTEUR DE TENSION DE BATTERIE |
Cliquer ici
| OK |
|
REMPLACER L'ENSEMBLE DE SOUFFLANTE DE REFROIDISSEMENT DE LA BATTERIE |
| INCORRECT |
|
REMPLACER LE CAPTEUR DE TENSION DE BATTERIE |
| 8. |
VERIFIER LE CAPTEUR DE TENSION DE BATTERIE (FREQUENCE) |
Cliquer ici
| OK |
|
REMPLACER L'ENSEMBLE DE SOUFFLANTE DE REFROIDISSEMENT DE LA BATTERIE |
| INCORRECT |
|
REMPLACER LE CAPTEUR DE TENSION DE BATTERIE |
Coupure ou court-circuit à la masse dans le circuit du ventilateur de refroidissement de batterie hybride/EV 1 (P0A8115)
DESCRIPTION Se reporter à la description du DTC P0A8111.
Cliquer ici
N° de DTC Objet de la détection
Condition de détection du DTC
Organe incriminé MIL
Avertissement ...
Performances du système de refroidissement d'inverseur "A" (P0A9300)
RESUME DES DTC DESCRIPTION DU DYSFONCTIONNEMENT
Ce
DTC indique lorsque la température à l'intérieur de l'inverseur est
devenue anormale. La cause de ce dysfonctionnement peut être l'un des
...
D'autres materiaux:
Coupure dans le circuit de bobine d'allumage "A" (P035113-P035413)
DESCRIPTION
CONSEIL:
Ces DTC indiquent des dysfonctionnements relatifs au circuit primaire.
Si le DTC P035113 est émis, vérifier le circuit de l'ensemble de bobine d'allumage n° 1.
Si le DTC P035213 est émis, vérifier le circuit d'ensemble de bobine d'allumage n° 2.
...
Mesures De Precaution
MESURES DE PRECAUTION PRINCIPAUX CONSEILS DE REPARATION
(a) CONSEILS DE PROCEDURE
1 Tenue vestimentaire
Toujours porter un uniforme propre.
Il convient de porter une casquette et des chaussures de sécurité.
2
Protection du véhicule
P ...
Perte de communication avec le capteur d'airbag latéral droit
(B1622/81,B1623/81,B1632/81,B1633/81,B1642/81,B1643/81,B166D/81,B166E/81)
DESCRIPTION Le circuit du
capteur de collision latérale droit se compose de l'ensemble d'ECU
d'airbag, du capteur d'airbag latéral de porte droit, de l'ensemble de
capteur d'airbag latéral droit et du capteur d'airbag arrière droit. Le
capteur d'airbag latéral de porte droit, l'ensemble ...