Manuel de réparation de la Toyota Prius 2018: Rechercher un éventuel court-circuit dans les lignes de bus 2
DESCRIPTION
Il se peut qu'il y ait un court-circuit entre les lignes principales de bus CAN et/ou entre les lignes secondaires CAN lorsque la résistance entre les bornes 18 (CA4H) et 17 (CA4L) de l'ECU du portail d'accès central (ECU du portail d'accès au réseau) est inférieure à 54 Ω.
Symptôme | Organe incriminé |
---|---|
La résistance entre les bornes 18 (CA4H) et 17 (CA4L) de l'ECU du portail d'accès central (ECU du portail d'accès au réseau) est inférieure à 54 Ω. |
|
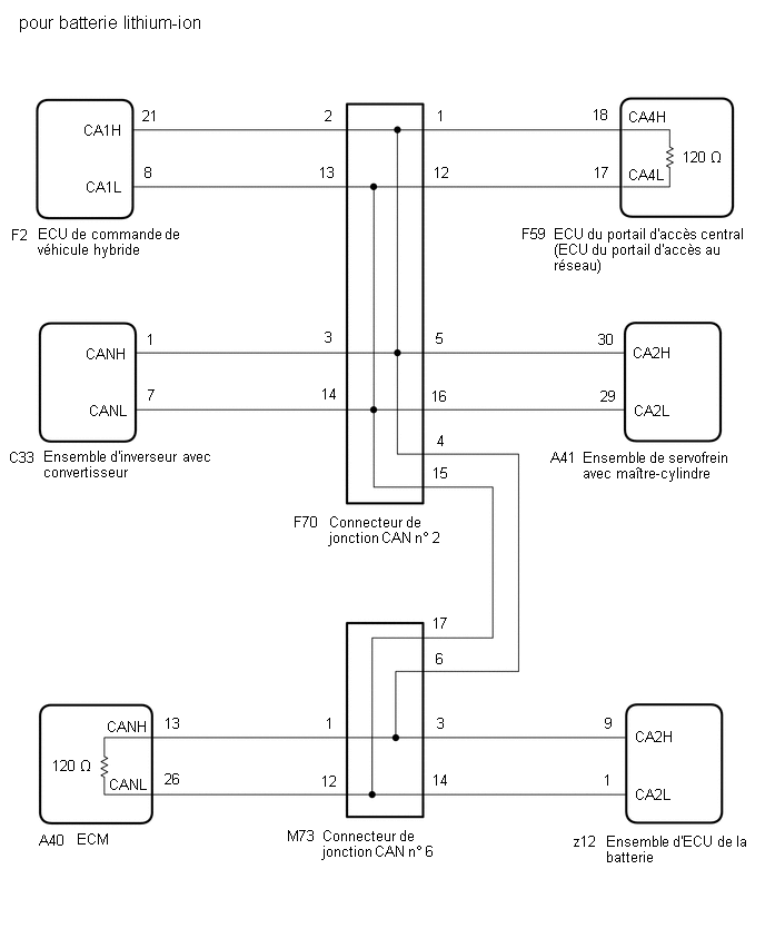
SCHEMA DE CABLAGE


MESURE DE PRECAUTION / REMARQUE / CONSEIL
REMARQUE:
- Parce que l'ordre de diagnostic est important pour permettre un bon
diagnostic, veiller à procéder à la recherche de pannes en utilisant la
section "Comment utiliser la recherche de pannes" lorsque des DTC
relatifs au système de communication CAN sont émis.
Cliquer ici
- Avant de mesurer la résistance du bus CAN, mettre le contacteur d'alimentation en position OFF et laisser le véhicule à l'arrêt pendant un minimum de 1 minute sans utiliser la clé ou les contacteurs, ni ouvrir ou fermer les portes. Ensuite, débrancher le câble de la borne négative (-) de la batterie auxiliaire et laisser le véhicule à l'arrêt pendant un minimum de 1 minute avant de mesurer la résistance.
- Après avoir mis le contacteur d'alimentation en position OFF, un délai
d'attente avant de débrancher le câble de la borne négative (-) de la
batterie peut être requis. Par conséquent, veiller à lire les mesures de
précaution concernant le débranchement du câble de la borne négative
(-) de la batterie auxiliaire avant de poursuivre le travail.
Cliquer ici
- Après avoir effectué les réparations, exécuter la procédure de
vérification des DTC et s'assurer que les DTC ne sont pas à nouveau
émis.
Procédure de vérification des DTC: Mettre le contacteur d'alimentation en position ON (IG) et attendre environ 52 secondes minimum. Mettre le système de moniteur d'angle mort en position ON à l'aide du contacteur principal de moniteur d'angle mort (contacteur ON/OFF), mettre le contacteur principal du régulateur de vitesse en position ON, mettre le contacteur principal LDA en position ON, puis conduire le véhicule à une vitesse d'environ 20 km/h (12 mi/h) pendant environ 5 minutes.
- Après la réparation, effectuer la vérification du bus CAN, et s'assurer
que tous les ECU et capteurs branchés sur le système de communication
CAN s'affichent.
Cliquer ici
- Avant de remplacer l'ECU de commande de véhicule hybride, se reporter à la section relative à l'enregistrement.
Cliquer ici
CONSEIL:
- Avant de débrancher les connecteurs associés pour la vérification, enfoncer le corps de chaque connecteur pour s'assurer que le connecteur n'est pas desserré ou débranché.
- Lorsqu'un connecteur est débranché, s'assurer que la carrosserie des bornes et du connecteur n'est pas fissurée, déformée ou corrodée.
PROCEDURE
1. | VERIFIER LE TYPE DE VEHICULE |
(a) Vérifier le type de véhicule.
Résultat:
Résultat | Passer au point |
---|---|
pour batterie hybride en nickel |
A |
pour batterie au lithium |
B |
B |
![]() |
PASSER AU POINT 5 |
|
2. |
RECHERCHER UN EVENTUEL COURT-CIRCUIT DANS LES LIGNES DE BUS CAN (CONNECTEUR DE JONCTION CAN N° 2) |
(a) Débrancher le câble de la borne négative (-) de la batterie auxiliaire.
(b) Débrancher le connecteur F70 du connecteur de jonction CAN n° 2.
(c) Mesurer la résistance en fonction de la (des) valeur(s) indiquée(s) dans le tableau ci-dessous.

*a | Vue avant du connecteur côté faisceau de câbles (vers le connecteur de jonction CAN n° 2) |
*b | vers l'ECU du portail d'accès central (ECU du portail d'accès au réseau) |
*c | vers l'ECU de commande de véhicule hybride |
*d | vers l'ensemble d'inverseur avec convertisseur |
*e | vers l'ECM |
*f | vers l'ensemble de servofrein avec maître-cylindre |
Résistance standard:
Branchement du tester | Condition |
Condition spécifiée | Raccorde à |
---|---|---|---|
F70-1 (CANH) - F70-12 (CANL) |
Câble débranché de la borne négative (-) de la batterie auxiliaire |
108 à 132 Ω | ECU du portail d'accès central (ECU du portail d'accès au réseau) |
F70-2 (CANH) - F70-13 (CANL) |
Câble débranché de la borne négative (-) de la batterie auxiliaire |
200 Ω minimum | ECU de commande de véhicule hybride |
F70-3 (CANH) - F70-14 (CANL) |
Câble débranché de la borne négative (-) de la batterie auxiliaire |
200 Ω minimum | Ensemble d'inverseur avec convertisseur |
F70-4 (CANH) - F70-15 (CANL) |
Câble débranché de la borne négative (-) de la batterie auxiliaire |
108 à 132 Ω | ECM |
F70-5 (CANH) - F70-16 (CANL) |
Câble débranché de la borne négative (-) de la batterie auxiliaire |
200 Ω minimum | Ensemble de servofrein avec maître-cylindre |
Résultat:
Résultat | Passer au point |
---|---|
OK | A |
NG (ligne vers l'ECU du portail d'accès (ECU du portail d'accès au réseau)) |
B |
NG (ligne vers l'ECM) |
C |
NG (ligne vers l'ECU ou le capteur) |
D |
A |
![]() |
REMPLACER LE CONNECTEUR DE JONCTION CAN N° 2 |
C |
![]() |
PASSER AU POINT 4 |
D |
![]() |
PASSER AU POINT 9 |
|
3. |
RECHERCHER UN EVENTUEL COURT-CIRCUIT DANS LES LIGNES DU BUS CAN (CONNECTEUR DE JONCTION CAN N° 2 - ECU DU PORTAIL D'ACCES CENTRAL (ECU DU PORTAIL D'ACCES AU RESEAU)) |
(a) Débrancher le connecteur F59 d'ECU du portail d'accès central (ECU du portail d'accès au réseau).
(b) Mesurer la résistance en fonction de la (des) valeur(s) indiquée(s) dans le tableau ci-dessous. Résistance standard:
|
|
OK |
![]() |
REMPLACER L'ECU DU PORTAIL D'ACCES CENTRAL (ECU DU PORTAIL D'ACCES AU RESEAU) |
INCORRECT |
![]() |
REPARER OU REMPLACER LES LIGNES DE BUS PRINCIPALES CAN OU LE CONNECTEUR (CONNECTEUR DE JONCTION CAN N° 2 - ECU DU PORTAIL D'ACCES CENTRAL (ECU DU PORTAIL D'ACCES AU RESEAU)) |
4. |
RECHERCHER UN EVENTUEL COURT-CIRCUIT DANS LES LIGNES DE BUS CAN (CONNECTEUR DE JONCTION CAN N° 2 - ECM) |
(a) Débrancher le connecteur A40 ECM.
(b) Mesurer la résistance en fonction de la (des) valeur(s) indiquée(s) dans le tableau ci-dessous. Résistance standard:
|
|
OK |
![]() |
REMPLACER L'ECM |
INCORRECT |
![]() |
REPARER OU REMPLACER LES LIGNES PRINCIPALES DE BUS CAN OU LE CONNECTEUR (CONNECTEUR DE JONCTION CAN N° 2 - ECM) |
5. |
RECHERCHER UN EVENTUEL COURT-CIRCUIT DANS LES LIGNES DE BUS CAN (CONNECTEUR DE JONCTION CAN N° 2) |
(a) Débrancher le câble de la borne négative (-) de la batterie auxiliaire.
(b) Débrancher le connecteur F70 du connecteur de jonction CAN n° 2.
(c) Mesurer la résistance en fonction de la (des) valeur(s) indiquée(s) dans le tableau ci-dessous.

*a | Vue avant du connecteur côté faisceau de câbles (vers le connecteur de jonction CAN n° 2) |
*b | vers l'ECU du portail d'accès central (ECU du portail d'accès au réseau) |
*c | vers l'ECU de commande de véhicule hybride |
*d | vers l'ensemble d'inverseur avec convertisseur |
*e | vers le connecteur de jonction CAN n° 6 |
*f | vers l'ensemble de servofrein avec maître-cylindre |
Résistance standard:
Branchement du tester | Condition |
Condition spécifiée | Raccorde à |
---|---|---|---|
F70-1 (CANH) - F70-12 (CANL) |
Câble débranché de la borne négative (-) de la batterie auxiliaire |
108 à 132 Ω | ECU du portail d'accès central (ECU du portail d'accès au réseau) |
F70-2 (CANH) - F70-13 (CANL) |
Câble débranché de la borne négative (-) de la batterie auxiliaire |
200 Ω minimum | ECU de commande de véhicule hybride |
F70-3 (CANH) - F70-14 (CANL) |
Câble débranché de la borne négative (-) de la batterie auxiliaire |
200 Ω minimum | Ensemble d'inverseur avec convertisseur |
F70-4 (CANH) - F70-15 (CANL) |
Câble débranché de la borne négative (-) de la batterie auxiliaire |
108 à 132 Ω | Connecteur de jonction CAN n° 6 |
F70-5 (CANH) - F70-16 (CANL) |
Câble débranché de la borne négative (-) de la batterie auxiliaire |
200 Ω minimum | Ensemble de servofrein avec maître-cylindre |
Résultat:
Résultat | Passer au point |
---|---|
OK | A |
NG (ligne vers l'ECU du portail d'accès (ECU du portail d'accès au réseau)) |
B |
NG (ligne vers le connecteur de jonction CAN n° 6) |
C |
NG (ligne vers l'ECU ou le capteur) |
D |
A |
![]() |
REMPLACER LE CONNECTEUR DE JONCTION CAN N° 2 |
C |
![]() |
PASSER AU POINT 7 |
D |
![]() |
PASSER AU POINT 9 |
|
6. |
RECHERCHER UN EVENTUEL COURT-CIRCUIT DANS LES LIGNES DU BUS CAN (CONNECTEUR DE JONCTION CAN N° 2 - ECU DU PORTAIL D'ACCES CENTRAL (ECU DU PORTAIL D'ACCES AU RESEAU)) |
(a) Débrancher le connecteur F59 d'ECU du portail d'accès central (ECU du portail d'accès au réseau).
(b) Mesurer la résistance en fonction de la (des) valeur(s) indiquée(s) dans le tableau ci-dessous. Résistance standard:
|
|
OK |
![]() |
REMPLACER L'ECU DU PORTAIL D'ACCES CENTRAL (ECU DU PORTAIL D'ACCES AU RESEAU) |
INCORRECT |
![]() |
REPARER OU REMPLACER LES LIGNES DE BUS PRINCIPALES CAN OU LE CONNECTEUR (CONNECTEUR DE JONCTION CAN N° 2 - ECU DU PORTAIL D'ACCES CENTRAL (ECU DU PORTAIL D'ACCES AU RESEAU)) |
7. |
RECHERCHER UN EVENTUEL COURT-CIRCUIT DANS LES LIGNES DE BUS CAN (CONNECTEUR DE JONCTION CAN N° 6) |
(a) Rebrancher le connecteur F70 du connecteur de jonction CAN n° 2.
(b) Débrancher le connecteur M73 de jonction CAN n° 6.
(c) Mesurer la résistance en fonction de la (des) valeur(s) indiquée(s) dans le tableau ci-dessous.

*a | Vue avant du connecteur côté faisceau de câbles (vers le connecteur de jonction CAN n° 6) |
*b | vers l'ECM |
*c | vers l'ensemble d'ECU de la batterie |
*d | vers le connecteur de jonction CAN n° 2 |
Résistance standard:
Branchement du tester | Condition |
Condition spécifiée | Raccorde à |
---|---|---|---|
M73-1 (CANH) - M73-12 (CANL) |
Câble débranché de la borne négative (-) de la batterie auxiliaire |
108 à 132 Ω | ECM |
M73-3 (CANH) - M73-14 (CANL) |
Câble débranché de la borne négative (-) de la batterie auxiliaire |
200 Ω minimum | Ensemble d'ECU de la batterie |
M73-6 (CANH) - M73-17 (CANL) |
Câble débranché de la borne négative (-) de la batterie auxiliaire |
108 à 132 Ω | Connecteur de jonction CAN n° 2 |
Résultat:
Résultat | Passer au point |
---|---|
OK | A |
NG (ligne vers l'ECM) |
B |
NG (ligne vers le connecteur de jonction CAN n° 2) |
C |
NG (ligne vers l'ECU ou le capteur) |
D |
A |
![]() |
REMPLACER LE CONNECTEUR DE JONCTION CAN N° 6 |
C |
![]() |
REPARER OU REMPLACER LE CONNECTEUR OU LES LIGNES DE BUS PRINCIPAL CAN (CONNECTEUR DE JONCTION CAN N° 6 - CONNECTEUR DE JONCTION CAN N° 2) |
D |
![]() |
PASSER AU POINT 9 |
|
8. |
RECHERCHER UN EVENTUEL COURT-CIRCUIT DANS LES LIGNES DE BUS CAN (CONNECTEUR DE JONCTION CAN N° 6 - ECM) |
(a) Débrancher le connecteur A40 ECM.
(b) Mesurer la résistance en fonction de la (des) valeur(s) indiquée(s) dans le tableau ci-dessous. Résistance standard:
|
|
OK |
![]() |
REMPLACER L'ECM |
INCORRECT |
![]() |
REPARER OU REMPLACER LES LIGNES PRINCIPALES DE BUS CAN OU LE CONNECTEUR (CONNECTEUR DE JONCTION CAN N° 6 - ECM) |
9. |
RECHERCHER UN EVENTUEL COURT-CIRCUIT DANS LES LIGNES DE BUS CAN (ECU OU CAPTEUR) |
(a) Rebrancher tous les connecteurs du faisceau de câbles.
(b) Débrancher le connecteur qui comprend les bornes CANH et CANL de l'ECU ou du capteur sur lesquelles la ligne secondaire en court-circuit est branchée.
Cliquer ici
(c) Mesurer la résistance en fonction de la (des) valeur(s) indiquée(s) dans le tableau ci-dessous. Résistance standard:
CONSEIL:
|
|
OK |
![]() |
REMPLACER L'ECU OU LE CAPTEUR |
INCORRECT |
![]() |
REPARER OU REMPLACER LE FAISCEAU DE CABLES OU LE CONNECTEUR |
Coupure d'un côté de la ligne de bus principale de bus 2
DESCRIPTION Il se peut
qu'il y ait une coupure de circuit dans l'une des lignes principales de
CAN lorsque la résistance entre les bornes 18 (CA4H) et 17 (CA4L) de
l'ECU du portail d'accès cen ...
Rechercher un éventuel court-circuit en +B dans la ligne de bus 2
DESCRIPTION Il se peut
qu'il y ait un court-circuit entre l'une des lignes de bus CAN et +B
lorsqu'aucune résistance n'est détectée entre la borne 18 (CA4H) de
l'ECU du portail d'accès centr ...
D'autres materiaux:
Durée d'entraînement de moteur de cliquet de verrouillage de frein de stationnement trop longue (P272C00)
DESCRIPTION L'ECU de
commande de véhicule hybride reçoit un signal du contacteur de position P
transmis par le contacteur de position P (contacteur principal de
changement de vitesse au volant) et active le moteur de verrouillage de
stationnement par l'intermédiaire de la commande de cour ...
Comment Utiliser La Recherche De Pannes
MESURE DE PRECAUTION / REMARQUE / CONSEIL
CONSEIL:
Suivre ces procédures pour effectuer la recherche de pannes du système de direction assistée.
*: Utiliser le Techstream.
PROCEDURE
1. VEHICULE AMENE A L'ATELIER
SUIVANT
2.
VERIFI ...
Signal du système antidémarrage (Quantité de certains circuits, signalé par les données sérielles) Invalide (B279986)
DESCRIPTION En cas de
dysfonctionnement de communication entre l'ECU de commande de véhicule
hybride et le boîtier de code ID (ECU de code de dispositif
antidémarrage), ou lorsque les codes ID de communication ne
correspondent pas, l'ECU de commande de véhicule hybride enregistre ce
DT ...