Manuel de réparation de la Toyota Prius 2018: Repose
REPOSE
PROCEDURE
1. REPOSER L'ISOLANT THERMIQUE DE COLLECTEUR D'ECHAPPEMENT N° 2
(a) Reposer l'isolant thermique de collecteur d'échappement n° 2 sur le collecteur d'échappement (TWC: catalyseur avant) avec les 4 boulons.
Torque:
12 N·m {122 kgf·cm, 9 ft·lbf}
2. REPOSER LE COLLECTEUR D'ECHAPPEMENT (TWC: catalyseur avant)
(a) Poser un collecteur d'échappement neuf sur le joint de culasse et un joint d'étanchéité de refroidisseur EGR neuf sur le sous-ensemble de culasse.
(b) Reposer provisoirement le collecteur d'échappement (TWC: catalyseur avant) sur le sous-ensemble de culasse à l'aide des 7 écrous neufs.
(c) Reposer provisoirement le renfort de collecteur sur le collecteur d'échappement (TWC: catalyseur avant) et le sous-ensemble de bloc-cylindres à l'aide des 3 boulons.
(d) A l'aide d'une clé à douille longue de 12 mm, serrer les 7 boulons dans l'ordre indiqué sur le schéma. Torque: 26 N·m {265 kgf·cm, 19 ft·lbf} |
|
(e) Serrer les 3 boulons dans l'ordre indiqué sur le schéma. Torque: 43 N·m {438 kgf·cm, 32 ft·lbf} |
|
(f) Engager l'attache.

![]() |
Brancher |
![]() |
Verrouiller |
(g) Brancher le connecteur d'ensemble de pompe de servofrein et verrouiller le levier de verrouillage comme indiqué sur le schéma.
REMARQUE:
- S'assurer que le connecteur est bien verrouillé.
- S'assurer que le connecteur peut être raccordé librement. Eviter que de l'eau, de la poussière ou des impuretés n'y pénètrent.
(h) avec système de recyclage d'air d'échappement:
(1) Raccorder le connecteur du capteur de température de liquide de refroidissement du moteur.
(2) Brancher la canalisation d'eau et le sous-ensemble de durite A sur le support à l'aide de l'écrou.
Torque:
9,8 N·m {100 kgf·cm, 87 in·lbf}
3. REPOSER L'ISOLANT THERMIQUE DE COLLECTEUR D'ECHAPPEMENT N° 1
(a) Reposer l'isolant thermique de collecteur d'échappement n° 1 sur le collecteur d'échappement (TWC: catalyseur avant) avec les 6 boulons.
Torque:
12 N·m {122 kgf·cm, 9 ft·lbf}
4. REPOSER LE SUPPORT D'ATTACHE DE FAISCEAU DE CABLES
(a) Reposer le support d'attache de faisceau de câbles sur le sous-ensemble de culasse à l'aide du boulon et engager l'attache.
Torque:
39 N·m {398 kgf·cm, 29 ft·lbf}
5. REPOSER L'ENSEMBLE DE TUYAU D'ECHAPPEMENT AVANT (TWC: catalyseur arrière)
(a) A l'aide d'un pied à coulisse, mesurer la longueur libre des ressorts de compression.
Si la longueur libre est inférieure au minimum, remplacer le ressort de compression. |
|
(b) Reposer provisoirement 2 nouveaux joints d'étanchéité de tuyau d'échappement sur le collecteur d'échappement (TWC: catalyseur avant) et ensemble de tuyau d'échappement avant (TWC: catalyseur arrière).
(c) A l'aide d'un maillet en plastique et d'un bloc de bois, introduire chaque joint d'étanchéité de tuyau d'échappement jusqu'à mettre leur surface au même niveau que le collecteur d'échappement (TWC: catalyseur avant) et ensemble de tuyau d'échappement avant (TWC: catalyseur arrière). REMARQUE:
|
|
(d) Brancher l'ensemble de tuyau d'échappement avant (TWC: catalyseur arrière) sur les 2 supports de tuyau d'échappement.
(e) Reposer l'ensemble de tuyau d'échappement avant (TWC: catalyseur arrière) sur le collecteur d'échappement (TWC: catalyseur avant) avec les 2 boulons et les 2 ressorts de compression.
Torque:
43 N·m {438 kgf·cm, 32 ft·lbf}
CONSEIL:
Après la repose, s'assurer que l'espace entre les flasques de collecteur d'échappement (TWC: catalyseur avant) et ensemble de tuyau d'échappement avant (TWC: catalyseur arrière) avant-arrière et gauche-droite est conforme.

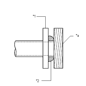
*1 | Collecteur d'échappement (TWC: catalyseur avant) |
*2 | Ensemble de tuyau d'échappement avant (TWC: catalyseur arrière) |
*3 | Joint d'étanchéité de tuyau d'échappement |
*a | Jeu entre les flasques: 8,5 mm (0,335 po) |
(f) Reposer l'ensemble de tuyau d'échappement avant (TWC: catalyseur arrière) sur l'ensemble de tuyau d'échappement arrière à l'aide des 2 ressorts de compression et 2 boulons.
Torque:
43 N·m {438 kgf·cm, 32 ft·lbf}
CONSEIL:
Après la repose, s'assurer que l'espace avant-arrière et gauche-droite entre les flasques de l'ensemble de tuyau d'échappement avant (TWC: catalyseur arrière) et l'ensemble de tuyau d'échappement arrière est conforme d'avant en arrière et de gauche à droite.

*1 | Ensemble de tuyau d'échappement avant (TWC: catalyseur arrière) |
*2 | Ensemble de tuyau d'échappement arrière |
*3 | Joint d'étanchéité de tuyau d'échappement |
*a | Jeu entre les flasques: 6,5 mm (0,256 po) |
(g) Placer l'attache du faisceau de câbles.
(h) Brancher le connecteur du capteur d'oxygène chauffé.
(i) avec système de recyclage d'air d'échappement:
(1) Brancher la durite de sortie d'eau de chauffage B et la durite de sortie d'eau de chauffage C sur la canalisation de sortie d'eau n° 2 et la canalisation d'entrée d'eau et faire coulisser les 2 agrafes pour les fixer.
REMARQUE:
Lors de la repose de la durite de sortie d'eau de chauffage B et de la durite de sortie d'eau de chauffage C, s'assurer que le système de recyclage d'air d'échappement est rempli de liquide de refroidissement. Dans le cas contraire, l'ensemble de pompe à eau de moteur risque d'être endommagé.
6. REPOSER LE CAPTEUR DE RAPPORT AIR/CARBURANT
Cliquer ici
7. AJOUTER DU LIQUIDE DE REFROIDISSEMENT DU MOTEUR (avec système de recyclage d'air d'échappement)
Cliquer ici
8. RECHERCHER UNE EVENTUELLE FUITE DE LIQUIDE DE REFROIDISSEMENT (avec système de recyclage d'air d'échappement)
Cliquer ici
9. RECHERCHER UNE FUITE EVENTUELLE DE GAZ D'ECHAPPEMENT
Cliquer ici
10. REPOSER LE RENFORT DE PLANCHER CENTRAL AVANT
(a) Reposer les 3 renforts de plancher central avant sur la caisse du véhicule à l'aide des 12 boulons.
Torque:
29 N·m {296 kgf·cm, 21 ft·lbf}
11. REPOSER LE CACHE DE PLANCHER AVANT GAUCHE
(a) Engager les 5 attaches pour reposer le cache de plancher avant gauche sur la caisse du véhicule à l'aide des 2 boulons et des 3 agrafes.
Torque:
7,5 N·m {76 kgf·cm, 66 in·lbf}
12. REPOSER LE CACHE DE PLANCHER AVANT DROIT
CONSEIL:
Procéder de la même manière que pour le cache de plancher avant gauche.
13. REPOSER LE SABOT DE PROTECTION DE MOTEUR N° 2
Cliquer ici
14. REPOSER LE SABOT DE PROTECTION DE MOTEUR N° 1
Cliquer ici
15. REPOSER LE SABOT DE PROTECTION DE MOTEUR ARRIERE GAUCHE
Cliquer ici
Depose
DEPOSE MESURE DE PRECAUTION / REMARQUE / CONSEIL
Les
procédures nécessaires (réglage, calibrage, initialisation ou
enregistrement) qui doivent être effectuées une fois que les pièces sont ...
Systeme D'admission
Verification Sur VehiculeVERIFICATION SUR VEHICULE MESURE DE PRECAUTION / REMARQUE / CONSEIL
Les
procédures nécessaires (réglage, calibrage initialisation ou
enregistrement) devant être ef ...
D'autres materiaux:
Systeme De Diagnostic
SYSTEME DE DIAGNOSTIC DESCRIPTION (a)
Les données du système d'éclairage et les codes de diagnostic (DTC)
peuvent être relevés au moyen du connecteur de liaison de données 3
(DLC3) du véhicule. Si le système semble ne pas fonctionner
correctement, rechercher les dysfonctionnements é ...
Moteur / Dysfonctionnement du contacteur d'alimentation (B2278)
DESCRIPTION Ce DTC est
enregistré lorsque les signaux de contact SSW1 et SSW2, qui sont
détectés lorsque le contacteur d'alimentation est actionné, ne
concordent pas.
N° de DTC Objet de la détection
Condition de détection du DTC
Organe incriminé Remarque
B22 ...
Code régional du capteur radar avant non conforme (C1A0A)
DESCRIPTION L'ensemble
d'ECU d'aide à la conduite utilise l'ensemble de capteur radar à ondes
millimétriques pour détecter les objets se trouvant devant le véhicule. Sur
la base des signaux transmis par l'ensemble de capteur radar à ondes
millimétriques, l'ensemble d'ECU d'aide à la ...