Manuel de réparation de la Toyota Prius 2018: Performances/plage de fonctionnement du circuit "A" du capteur de courant de batterie hybride/EV (P0ABF00)

Manuel de réparation de la Toyota Prius 2018 / Moteur, Systeme hybride / Commande De Batterie / Hybride / Systeme De Commande Hybride (pour Batterie Au Lithium) / Performances/plage de fonctionnement du circuit "A" du capteur de courant de batterie hybride/EV (P0ABF00)

DESCRIPTION

Un capteur de courant de la batterie, monté du côté du câble positif de chaque ensemble de bloc de jonction de batterie HV, détecte le courant circulant vers ou provenant du châssis de batterie. Le capteur de courant de la batterie émet une tension, qui varie entre 0 et 5 V proportionnellement à l'ampérage, à la borne IB0 de l'ensemble d'ECU de la batterie. De même, il transmet une tension, variant entre 0 et 5 V et inversement proportionnel à l'ampérage, à la borne IB1 de l'ensemble d'ECU de la batterie. Lorsque la tension de la borne IB0 est inférieure à 2,8 V et que la tension de la borne IB1 est supérieure à 2,2 V, cela indique que la batterie HV est déchargée. De plus, pendant ce temps, lorsque la tension de la borne IB0 est supérieure à 2,8 V et que la tension de la borne IB1 est inférieure à 2,2 V, cela indique que la batterie HV est déchargée. L'ensemble d'ECU de la batterie envoie les signaux transmis par ses bornes IB0 et IB1 à l'ECU de commande de véhicule hybride. L'ECU de commande de véhicule hybride détermine l'ampérage de charge et de décharge de la batterie HV en fonction des signaux reçus et calcule l'état de charge (SOC) de la batterie HV à l'aide de la valeur d'ampérage cumulée.

N° de DTC

Objet de la détection

Condition de détection du DTC

Organe incriminé

MIL

Avertissement indiqué

P0ABF00

Performances/plage de fonctionnement du circuit "A" du capteur de courant de batterie hybride/EV

Caractéristiques anormales du capteur de courant de la batterie:

(en fonction de la consommation du système hybride et de la sortie de batterie HV).

(logique de détection à 1 cycle(s))

  • Ensemble de bloc de jonction de batterie HV
  • Ensemble d'ECU de la batterie

S'active

Témoin principal

S'active

Data List correspondante

N° de DTC

Data List

P0ABF00

-

DESCRIPTION DU CONTROLE

L'ECU de commande de véhicule hybride détecte les dysfonctionnements du capteur de courant de batterie en contrôlant le couple du moteur et du générateur. Si l'ECU de commande de véhicule hybride détecte un dysfonctionnement du capteur de courant de batterie, elle allume le MIL et enregistre un DTC.

PROCEDURE DE CONTROLE

DTC correspondants

P0AC0 (INF P0ABF00): Dysfonctionnement du capteur de courant (augmentation ou décalage)

Capteurs / Pièces constitutives requis

Capteur de courant de la batterie

Fréquence de fonctionnement

En permanence

Durée

Propriété intellectuelle de TMC

Fonctionnement MIL

1 cycle(s) de conduite

Séquence de fonctionnement

Néant

CONDITIONS TYPIQUES D'ACTIVATION

Le contrôle se fait si les DTC suivants ne sont pas enregistrés

Propriété intellectuelle de TMC

Les autres conditions sont la propriété intellectuelle de TMC

-

SEUILS DE DYSFONCTIONNEMENT TYPIQUES

Propriété intellectuelle de TMC

-

PLAGE DE FONCTIONNEMENT DE LA PIECE CONSTITUTIVE

ECU de commande de véhicule hybride

Le DTC P0AC0 (INF P0ABF00) n'est pas détecté

PERIODE TEST DE CONFIRMATION

CONSEIL:

  • Une fois la réparation terminée, effacer les DTC et vérifier si le véhicule est revenu à la normale en exécutant la procédure de vérification "All Readiness".

    Cliquer ici

  • Au moment d'effacer les DTC permanents, se reporter à la procédure " EFFACER LES DTC PERMANENTS".

    Cliquer ici

  1. Brancher le Techstream sur le DLC3.
  2. Mettre le contacteur d'alimentation en position ON (IG) et allumer le Techstream.
  3. Effacer les DTC (même si aucun DTC n'est enregistré, effectuer la suppression des DTC).
  4. Mettre le contacteur d'alimentation en position OFF et attendre 2 minutes minimum.
  5. Mettre le contacteur d'alimentation en position ON (IG) et allumer le Techstream.
  6. Faire rouler le véhicule pendant environ 10 minutes en fonction des éléments de données d'arrêt sur image "Vehicle Speed", "Accelerator Position", "Hybrid Battery Current", "Motor Torque" et "Generator Torque". [*1]

    CONSEIL:

    [*1] : Procédure d'estimation normale.

    La procédure d'estimation d'état normal est utilisée pour exécuter l'estimation de DTC et est également utilisée pour effacer les DTC permanents.

  7. Sélectionner les menus suivants: Powertrain / Hybrid Control / Utility / All Readiness.
  8. Vérifier le résultat de l'estimation de DTC.

    CONSEIL:

    • Si le résultat de l'estimation révèle NORMAL, le système est normal.
    • Si le résultat de l'estimation est ABNORMAL, le système présente un dysfonctionnement.
    • Si le résultat de l'estimation est INCOMPLETE ou N/A, effectuer à nouveau la procédure d'évaluation d'état normal.

PROCEDURE

1.

VERIFIER LE FAISCEAU DE CABLES ET LE CONNECTEUR (ENSEMBLE D'ECU DE LA BATTERIE - SOUS-ENSEMBLE DE PILE D'ALIMENTATION HV N° 1)

ATTENTION:

Veiller à porter des gants isolants et des lunettes de sécurité.

(a) S'assurer que la poignée de prise d'entretien n'est pas posée.

REMARQUE:

Après avoir retiré la poignée de prise d'entretien, ne pas remettre le contacteur d'alimentation en position ON (READY) sauf si c'est clairement spécifié dans le manuel de réparation, car cela peut entraîner un dysfonctionnement.

(b) Déposer la protection de batterie HV n° 1.

Cliquer ici

(c) Débrancher le connecteur A de sous-ensemble de pile d'alimentation HV n° 1.

REMARQUE:

Avant de débrancher le connecteur, s'assurer qu'il n'est pas desserré ou débranché.

(d) Débrancher le connecteur z13 d'ensemble d'ECU de la batterie.

REMARQUE:

Avant de débrancher le connecteur, s'assurer qu'il n'est pas desserré ou débranché.

(e) Mesurer la résistance en fonction de la (des) valeur(s) indiquée(s) dans le tableau ci-dessous.

Résistance standard (rechercher une éventuelle coupure):

Branchement du tester

Condition

Condition spécifiée

z13-11(IB1) - A-2(IB1)

Contacteur d'alimentation en position OFF

En dessous de 1 Ω

z13-12(GIB) - A-6(GIB)

Contacteur d'alimentation en position OFF

En dessous de 1 Ω

z13-23(IB0) - A-7(IB0)

Contacteur d'alimentation en position OFF

En dessous de 1 Ω

z13-24(VIB) - A-1(VIB)

Contacteur d'alimentation en position OFF

En dessous de 1 Ω

Résistance standard (rechercher un court-circuit):

Branchement du tester

Condition

Condition spécifiée

z13-11 (IB1) ou A-2 (IB1) - Masse de carrosserie et autres bornes

Contacteur d'alimentation en position OFF

10 kΩ minimum

z13-12 (GIB) ou A-6 (GIB) - Masse de carrosserie et autres bornes

Contacteur d'alimentation en position OFF

10 kΩ minimum

z13-23 (IB0) ou A-7 (IB0) - Masse de carrosserie et autres bornes

Contacteur d'alimentation en position OFF

10 kΩ minimum

z13-24 (VIB) ou A-1 (VIB) - Masse de carrosserie et autres bornes

Contacteur d'alimentation en position OFF

10 kΩ minimum

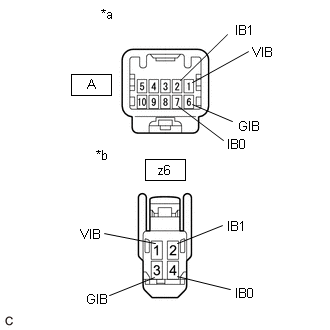
*a

Vue arrière du connecteur de faisceau de câbles

(vers l'ensemble d'ECU de la batterie)

*b

Vue avant du connecteur côté faisceau de câbles

(vers le sous-ensemble de pile d'alimentation HV n° 2)

(f) Rebrancher le connecteur z13 d'ensemble d'ECU de la batterie.

(g) Rebrancher le connecteur A de sous-ensemble de pile d'alimentation HV n° 1.

(h) Reposer la protection de batterie HV n° 1.

INCORRECT

PASSER AU POINT 9

OK

2.

VERIFIER LE FAISCEAU DE CABLES ET LE CONNECTEUR (SOUS-ENSEMBLE DE PILE D'ALIMENTATION HV N° 2 - ENSEMBLE DE BLOC DE JONCTION DE BATTERIE HV)

ATTENTION:

Veiller à porter des gants isolants et des lunettes de sécurité.

(a) S'assurer que la poignée de prise d'entretien n'est pas posée.

REMARQUE:

Après avoir retiré la poignée de prise d'entretien, ne pas remettre le contacteur d'alimentation en position ON (READY) sauf si c'est clairement spécifié dans le manuel de réparation, car cela peut entraîner un dysfonctionnement.

(b) Déposer le sous-ensemble de couvercle de batterie hybride supérieur n° 1.

Cliquer ici

(c) Débrancher le connecteur A de sous-ensemble de pile d'alimentation HV n° 2.

REMARQUE:

Avant de débrancher le connecteur, s'assurer qu'il n'est pas desserré ou débranché.

(d) Débrancher le connecteur z6 de capteur de courant de batterie de l'ensemble de bloc de jonction de batterie HV.

REMARQUE:

Avant de débrancher le connecteur, s'assurer qu'il n'est pas desserré ou débranché.

(e) Mesurer la résistance en fonction de la (des) valeur(s) indiquée(s) dans le tableau ci-dessous.

Résistance standard (rechercher une éventuelle coupure):

Branchement du tester

Condition

Condition spécifiée

A-2(IB1) - z6-2(IB1)

Contacteur d'alimentation en position OFF

En dessous de 1 Ω

A-6(GIB) - z6-3(GIB)

Contacteur d'alimentation en position OFF

En dessous de 1 Ω

A-7(IB0) - z6-4(IB0)

Contacteur d'alimentation en position OFF

En dessous de 1 Ω

A-1(VIB) - z6-1(VIB)

Contacteur d'alimentation en position OFF

En dessous de 1 Ω

Résistance standard (rechercher un court-circuit):

Branchement du tester

Condition

Condition spécifiée

A-2 (IB1) ou z6-2 (IB1) - Masse de carrosserie et autres bornes

Contacteur d'alimentation en position OFF

10 kΩ minimum

A-6 (GIB) ou z6-3 (GIB) - Masse de carrosserie et autres bornes

Contacteur d'alimentation en position OFF

10 kΩ minimum

A-7 (IB0) ou z6-4 (IB0) - Masse de carrosserie et autres bornes

Contacteur d'alimentation en position OFF

10 kΩ minimum

A-1 (VIB) ou z6-1 (VIB) - Masse de carrosserie et autres bornes

Contacteur d'alimentation en position OFF

10 kΩ minimum

*a

Vue arrière du connecteur de faisceau de câbles

(vers le sous-ensemble de pile d'alimentation HV n° 1)

*b

Vue avant du connecteur côté faisceau de câbles

(vers l'ensemble de bloc de jonction de batterie HV (capteur de courant de batterie))

(f) Rebrancher le connecteur z6 de capteur de courant de batterie sur l'ensemble de bloc de jonction de batterie HV.

(g) Rebrancher le connecteur A de sous-ensemble de pile d'alimentation HV n° 2.

(h) Reposer le sous-ensemble de couvercle de batterie hybride supérieur n° 1.

INCORRECT

REMPLACER LE SOUS-ENSEMBLE DE PILE D'ALIMENTATION HV N° 2

OK

3.

VERIFIER LE FAISCEAU DE CABLES ET LE CONNECTEUR (ENSEMBLE D'ECU DE LA BATTERIE - ENSEMBLE DE BLOC DE JONCTION DE BATTERIE HV)

ATTENTION:

Veiller à porter des gants isolants et des lunettes de sécurité.

(a) S'assurer que la poignée de prise d'entretien n'est pas posée.

REMARQUE:

Après avoir retiré la poignée de prise d'entretien, ne pas remettre le contacteur d'alimentation en position ON (READY) sauf si c'est clairement spécifié dans le manuel de réparation, car cela peut entraîner un dysfonctionnement.

(b) Déposer la protection de batterie HV n° 1.

Cliquer ici

(c) Débrancher le connecteur z13 d'ensemble d'ECU de la batterie.

REMARQUE:

Avant de débrancher le connecteur, s'assurer qu'il n'est pas desserré ou débranché.

(d) Débrancher le connecteur z6 de capteur de courant de batterie de l'ensemble de bloc de jonction de batterie HV.

REMARQUE:

Avant de débrancher le connecteur, s'assurer qu'il n'est pas desserré ou débranché.

(e) Mesurer la résistance en fonction de la (des) valeur(s) indiquée(s) dans le tableau ci-dessous.

Résistance standard (rechercher une éventuelle coupure):

Branchement du tester

Condition

Condition spécifiée

z13-11(IB1) - z6-2(IB1)

Contacteur d'alimentation en position OFF

En dessous de 1 Ω

z13-12(GIB) - z6-3(GIB)

Contacteur d'alimentation en position OFF

En dessous de 1 Ω

z13-23(IB0) - z6-4(IB0)

Contacteur d'alimentation en position OFF

En dessous de 1 Ω

z13-24(VIB) - z6-1(VIB)

Contacteur d'alimentation en position OFF

En dessous de 1 Ω

Résistance standard (rechercher un court-circuit):

Branchement du tester

Condition

Condition spécifiée

z13-11 (IB1) ou z6-2 (IB1) - Masse de carrosserie et autres bornes

Contacteur d'alimentation en position OFF

10 kΩ minimum

z13-12 (GIB) ou z6-3 (GIB) - Masse de carrosserie et autres bornes

Contacteur d'alimentation en position OFF

10 kΩ minimum

z13-23 (IB0) ou z6-4 (IB0) - Masse de carrosserie et autres bornes

Contacteur d'alimentation en position OFF

10 kΩ minimum

z13-24 (VIB) ou z6-1 (VIB) - Masse de carrosserie et autres bornes

Contacteur d'alimentation en position OFF

10 kΩ minimum

*a

Vue arrière du connecteur de faisceau de câbles

(vers l'ensemble d'ECU de la batterie)

*b

Vue avant du connecteur côté faisceau de câbles

(vers l'ensemble de bloc de jonction de batterie HV (capteur de courant de batterie))

(f) Rebrancher le connecteur z6 de capteur de courant de batterie sur l'ensemble de bloc de jonction de batterie HV.

(g) Rebrancher le connecteur z13 d'ensemble d'ECU de la batterie.

(h) Reposer la protection de batterie HV n° 1.

INCORRECT

PASSER AU POINT 8

OK

4.

REMPLACER L'ENSEMBLE DE BLOC DE JONCTION DE BATTERIE HV

Cliquer ici

SUIVANT

5.

SUPPRIMER LES DTC

Cliquer ici

SUIVANT

6.

EFFECTUER UN ESSAI SUR ROUTE

(a) Brancher le Techstream sur le DLC3.

(b) Mettre le contacteur d'alimentation en position ON (IG).

(c) Sélectionner les menus suivants: Powertrain / Hybrid Control / Data List.

(d) Vérifier si l'élément "Hybrid Battery SOC" affiche 60 % maximum.

CONSEIL:

Si l'élément "Hybrid Battery SOC" affiche 60 % minimum, le réduire en dessous de 60 % en laissant le système hybride en position ON et avec le point mort (N) sélectionné.

(e) Engager le frein de stationnement et fixer les roues à l'aide de cales.

(f) Mettre le contacteur d'alimentation en position ON (READY).

(g) Mettre le levier de changement de vitesse en position D tout en enfonçant la pédale de frein avec le pied gauche et répéter les étapes suivantes pendant 1 minute minimum.

CONSEIL:

Enfoncer et relâcher la pédale d'accélérateur à des intervalles de 5 seconde (2,5 secondes à chaque fois) en continu.

(1) Tout en enfonçant la pédale de frein à l'aide du pied gauche, enfoncer la pédale de l'accélérateur avec le pied droit.

(2) Relâcher la pédale d'accélérateur.

(h) Mettre le contacteur d'alimentation en position OFF.

SUIVANT

7.

VERIFIER LE DTC EMIS (COMMANDE HYBRIDE)

(a) Brancher le Techstream sur le DLC3.

(b) Mettre le contacteur d'alimentation en position ON (IG).

(c) Sélectionner les menus suivants: Powertrain / Hybrid Control / Trouble Codes.

(d) Vérifier les DTC.

Powertrain > Hybrid Control > Trouble Codes

(e) Mettre le contacteur d'alimentation en position OFF.

Le DTC P0ABF00 n'est pas émis.

TERMINE

Le DTC P0ABF00 est de nouveau émis.

REMPLACER L'ENSEMBLE D'ECU DE BATTERIE

8.

VERIFIER LE FAISCEAU DE CABLES ET LE CONNECTEUR (SOUS-ENSEMBLE DE PILE D'ALIMENTATION HV N° 2 - ENSEMBLE DE BLOC DE JONCTION DE BATTERIE HV)

ATTENTION:

Veiller à porter des gants isolants et des lunettes de sécurité.

(a) S'assurer que la poignée de prise d'entretien n'est pas posée.

REMARQUE:

Après avoir retiré la poignée de prise d'entretien, ne pas remettre le contacteur d'alimentation en position ON (READY) sauf si c'est clairement spécifié dans le manuel de réparation, car cela peut entraîner un dysfonctionnement.

(b) Déposer le sous-ensemble de couvercle de batterie hybride supérieur n° 1.

Cliquer ici

(c) Débrancher le connecteur A de sous-ensemble de pile d'alimentation HV n° 2.

REMARQUE:

Avant de débrancher le connecteur, s'assurer qu'il n'est pas desserré ou débranché.

(d) Vérifier les bornes de connecteur côté mâle du sous-ensemble A de pile d'alimentation HV n° 2.

OK:

Les bornes ne comportent pas de corps étrangers et ne sont pas endommagées.

(e) Rebrancher le connecteur A de sous-ensemble de pile d'alimentation HV n° 2.

(f) Reposer le sous-ensemble de couvercle de batterie hybride supérieur n° 1.

OK

REMPLACER LE SOUS-ENSEMBLE DE PILE D'ALIMENTATION HV N° 1

INCORRECT

REMPLACER LE SOUS-ENSEMBLE DE PILE D'ALIMENTATION HV N° 2

9.

VERIFIER LE FAISCEAU DE CABLES ET LE CONNECTEUR (SOUS-ENSEMBLE DE PILE D'ALIMENTATION HV N° 2 - ENSEMBLE DE BLOC DE JONCTION DE BATTERIE HV)

ATTENTION:

Veiller à porter des gants isolants et des lunettes de sécurité.

(a) S'assurer que la poignée de prise d'entretien n'est pas posée.

REMARQUE:

Après avoir retiré la poignée de prise d'entretien, ne pas remettre le contacteur d'alimentation en position ON (READY) sauf si c'est clairement spécifié dans le manuel de réparation, car cela peut entraîner un dysfonctionnement.

(b) Déposer le sous-ensemble de couvercle de batterie hybride supérieur n° 1.

Cliquer ici

(c) Débrancher le connecteur A de sous-ensemble de pile d'alimentation HV n° 2.

REMARQUE:

Avant de débrancher le connecteur, s'assurer qu'il n'est pas desserré ou débranché.

(d) Débrancher le connecteur z6 de capteur de courant de batterie de l'ensemble de bloc de jonction de batterie HV.

REMARQUE:

Avant de débrancher le connecteur, s'assurer qu'il n'est pas desserré ou débranché.

(e) Mesurer la résistance en fonction de la (des) valeur(s) indiquée(s) dans le tableau ci-dessous.

Résistance standard (rechercher une éventuelle coupure):

Branchement du tester

Condition

Condition spécifiée

A-2(IB1) - z6-2(IB1)

Contacteur d'alimentation en position OFF

En dessous de 1 Ω

A-6(GIB) - z6-3(GIB)

Contacteur d'alimentation en position OFF

En dessous de 1 Ω

A-7(IB0) - z6-4(IB0)

Contacteur d'alimentation en position OFF

En dessous de 1 Ω

A-1(VIB) - z6-1(VIB)

Contacteur d'alimentation en position OFF

En dessous de 1 Ω

Résistance standard (rechercher un court-circuit):

Branchement du tester

Condition

Condition spécifiée

A-2 (IB1) ou z6-2 (IB1) - Masse de carrosserie et autres bornes

Contacteur d'alimentation en position OFF

10 kΩ minimum

A-6 (GIB) ou z6-3 (GIB) - Masse de carrosserie et autres bornes

Contacteur d'alimentation en position OFF

10 kΩ minimum

A-7 (IB0) ou z6-4 (IB0) - Masse de carrosserie et autres bornes

Contacteur d'alimentation en position OFF

10 kΩ minimum

A-1 (VIB) ou z6-1 (VIB) - Masse de carrosserie et autres bornes

Contacteur d'alimentation en position OFF

10 kΩ minimum

*a

Vue arrière du connecteur de faisceau de câbles

(vers le sous-ensemble de pile d'alimentation HV n° 1)

*b

Vue avant du connecteur côté faisceau de câbles

(vers l'ensemble de bloc de jonction de batterie HV (capteur de courant de batterie))

(f) Rebrancher le connecteur z6 de capteur de courant de batterie sur l'ensemble de bloc de jonction de batterie HV.

(g) Rebrancher le connecteur A de sous-ensemble de pile d'alimentation HV n° 2.

(h) Reposer le sous-ensemble de couvercle de batterie hybride supérieur n° 1.

OK

REMPLACER LE SOUS-ENSEMBLE DE PILE D'ALIMENTATION HV N° 1

INCORRECT

REMPLACER LE SOUS-ENSEMBLE DE PILE D'ALIMENTATION HV N° 1 ET LE SOUS-ENSEMBLE DE PILE D'ALIMENTATION HV N° 2

Défaillance électronique interne du circuit de capteur d'isolation de tension de batterie hybride/EV (P0AA749)
DESCRIPTION L'ECU de commande de véhicule hybride contrôle le circuit de surveillance d'isolation situé dans l'ensemble d'ECU de la batterie et détecte des dysfonctionnements. N° de D ...

Court-circuit à la masse dans le circuit du contacteur positif de batterie hybride/EV (P0AD911)
DESCRIPTION Se reporter à la description pour le DTC P0AE411. Cliquer ici N° de DTC Objet de la détection Condition de détection du DTC Organe incriminé MIL Avertisse ...

D'autres materiaux:

Perte de communication avec le capteur d'airbag latéral droit (B1622/81,B1623/81,B1632/81,B1633/81,B1642/81,B1643/81,B166D/81,B166E/81)
DESCRIPTION Le circuit du capteur de collision latérale droit se compose de l'ensemble d'ECU d'airbag, du capteur d'airbag latéral de porte droit, de l'ensemble de capteur d'airbag latéral droit et du capteur d'airbag arrière droit. Le capteur d'airbag latéral de porte droit, l'ensemble ...

Perte de communication avec le capteur d'airbag avant droit (B1612/83,B1613/83)
DESCRIPTION Le circuit du capteur d'airbag avant droit se compose de l'ensemble d'ECU d'airbag et du capteur d'airbag avant droit. Le capteur d'airbag avant droit détecte les impacts sur le véhicule et envoie des signaux à l'ensemble d'ECU d'airbag pour déterminer si les airbags et les p ...

Court-circuit à la masse dans le circuit de capteur de courant de convertisseur DC/DC (P0E5111,P0E5115,P0E511F)
DESCRIPTION N° de DTC Objet de la détection Condition de détection du DTC Organe incriminé MIL Avertissement indiqué P0E5111 Court-circuit à la masse dans le circuit de capteur de courant de convertisseur DC/DC Court-circuit à GND détecté dans le cir ...

Manuels